3月15日国际消费者权益保护日即将到来,众安保险积极落实“315”金融消费者权益保护教育宣传活动。众安保险对于统筹车险的“打假”与科普行动仍在继续。
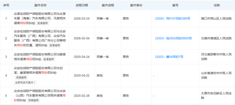
近期,一起商标侵权诉讼引起笔者注意。海南省海口市琼山区法院已受理众安在线财产保险股份有限公司诉众安车服(海南)汽车有限公司及马某侵害商标权及不正当竞争纠纷一案,案号为(2026)琼0107民初388号。因其他方式无法送达,法院已对两被告公告送达应诉通知书、起诉状副本、证据材料、开庭传票等诉讼文书。
原告众安在线在诉讼中提出五项主要诉求:要求两被告立即停止在微信公众号、产品服务单及收款商户名等所有渠道使用“众安”或近似标识;停止在销售宣传中使用与“众安”“保险”相关的误导性表述及虚假宣传内容;要求众安车服变更企业名称,去除“众安”或近似字样;判令两被告在《海南日报》及其微信公众号上连续三十日刊登经原告确认的致歉声明;并连带赔偿经济损失及合理维权费用共计30万元。
“李鬼”横行,“安全统筹”偷偷侵蚀正规车险市场
近年来,一场全国性的“打假”行动就已悄然展开。公开信息显示,山东、山西、河北、海南等多个省份,涌现出一批名称中带有“众安车服”、“众安车保”字样的公司。天眼查信息显示,案件状态多为“审理中”,一场遍布全国的法律交锋已然开场。
记者采访众安保险相关负责人表述,针对此类以“统筹单”假冒“保险单”的公司,众安已经从2024年10月份以来,通过向市场监督管理行政投诉、向人民法院提请诉讼的方式,对涉嫌商标侵权及不正当竞争的车险统筹企业进行了维权行动,目前已针对河北、山西、新疆、山东、安徽、深圳、广西、海南、四川等地的数十余统筹车险企业进行维权行动。
这些公司的产品,是一份精心设计的“伪保单”。其名目通常为“机动车安全统筹单”或“安全保障单”,刻意回避“保险”二字。在不起眼的角落,会用极小字体声明“非保险业务”。条款中充满了“保障金”“互助金”等模糊概念,而非“保费”和“保额”。
这一切设计,核心意图直指法律规避。这种“安全统筹”在法律定性上属于运输行业内部互助安排,其经营者不受《保险法》的严格规制,也无须遵守关于偿付能力充足率的刚性要求。一旦出现大额赔付或经营者资金链断裂,消费者的保单可能瞬间变为一纸空文。
唯一的卖点,是价格。推销员的话术经过精心打磨:“与保险公司深度合作”“享受系统内部底价”“车队团购优惠”……最终报出的价格,通常比正规市场报价低20%至30%。这精准击中了部分车主,尤其是面临“投保难、保费贵”困境的营运货车司机的软肋。
正是瞄准这一痛点,以低至正规保险六七成的价格为饵,此类业务在过去几年里如野草般疯长。高峰时期,全国各式各样的“统筹”公司数量超过两千家,它们彼此勾连或独立作战,共同构筑起一个庞大、隐秘且风险暗涌的灰色平行市场。
正本清源需“堵疏结合”
众安保险提醒消费者,“车辆安全统筹”不是保险,消费者权益无法得到《保险法》保障。广大消费者需要提高警惕,通过正规渠道投保并核实保单真伪。公司高度重视消费者权益保护。未来,众安将在全国范围内继续加大力度,加强监测此类“李鬼”公司,发现一起,打击一起,全面展开维权打假行动。
同时,消费者可通过核验承保主体是否为持牌保险公司、查看合同是否为正规保险保单、确认能否承保交强险、警惕异常低价快速区分车辆安全统筹与正规车险。在咨询、缴费、签约环节,务必核实机构资质、仅向保险公司对公账户付款、仔细确认合同为保险合同并验真保单,遇侵权可通过 12378、12315 等渠道维权,从源头规避消费陷阱。
面对乱象,监管与执法也一直在行动。
2025年7月,交通运输部、公安部、市场监管总局、金融监管总局等五部门联合发布《关于规范交通安全统筹有关事项的通知》,直指问题核心,旨在从根源上廓清迷雾。
《通知》明确定义,交通安全统筹只能是交通运输企业为解决自身风险,面向旗下“自有车辆”开展的内部互助机制。同时,它划出了一条清晰的红线:严禁任何机构以此名义“面向不特定车辆”开展商业性经营活动。此外,《通知》要求企业名称及经营范围中不得再使用“机动车统筹”“安全互助”等易造成混淆的字样,试图从商事登记的源头进行清理,遏制新的“李鬼”借壳出生。
然而,治理过程并非一蹴而就。一方面,正牌保险公司的维权战仍在进行,众安在线在海南的诉讼即是最新一例。另一方面,根治乱象需要解决其滋生的土壤——高风险车辆的保险供给难题。倘若市场需求得不到满足,灰色地带的“替代品”就总会找到生存缝隙。
因此,终结这场“猫鼠游戏”,需要构建一个超越单一部门、融合多重手段的治理体系。这既需要坚定的“堵”,也离不开智慧的“疏”。唯有“堵疏结合”,在严厉打击非法活动的同时,切实解决市场痛点,方能从根本上肃清乱象,让保障回归保障的本质。

新华报业网
Android版
iPhone版